来月発売のiPhone 16のカラバリモック。ブルーとグリーンが割と良さげなカラーリング。
来月9月(10日か17日あたり?)には発表されるかもしれないiPhone 16シリーズ。
例年以上にモックバリエーションが多いですね。
こちらはスタンダードモデル。
これまでの噂通り、カメラが縦になり、アクションボタンがあり、新カラバリあり。
ブルーもいいし、新しいグリーンも少しトーンが抑えられていて、ティールカラーに近いテイストが好きかも。

各種ボタンの配置とか、スピーカーホールやUSB-Cポート周りは、それほどの違いはありません。
ただ、ディスプレイは6.1インチから6.3インチになり、ベゼルがさらに細くなっているので、使ってみると「大きくなった」という感覚が楽しめるかもしれません。
iPhone 16 Proはこんな写真があります。
— Sonny Dickson (@SonnyDickson) August 1, 2024
iPhone 15 Proシリーズはナチュラル、ブルー、ホワイト、ブラックの各チタニウムカラーですが、この写真だとブルーがないですね。
その代わりに新色のローズが加わるという話も出ています。
ブラックもiPhone 15 Proのブラックチタニウムよりも、MacBook Proのスペースブラックに近い質感。
これが写真だからそう見えるのかどうかは不明。
ディスプレイは、iPhone 16 Proは6.3インチ、iPhone 16 Pro Maxは6.9インチになるということや、ベゼルが最薄を更新するという話も出ているので、こちらも実際に使ってみると広々感があるかも。
これまでの噂情報では、チップはA18、バッテリーは積層型になって強化され、アクションボタンとキャプチャーボタンもあり、超広角カメラが4800万画素になり、テトラプリズムレンズ(光学5倍)はProにも搭載され、望遠レンズも強化。

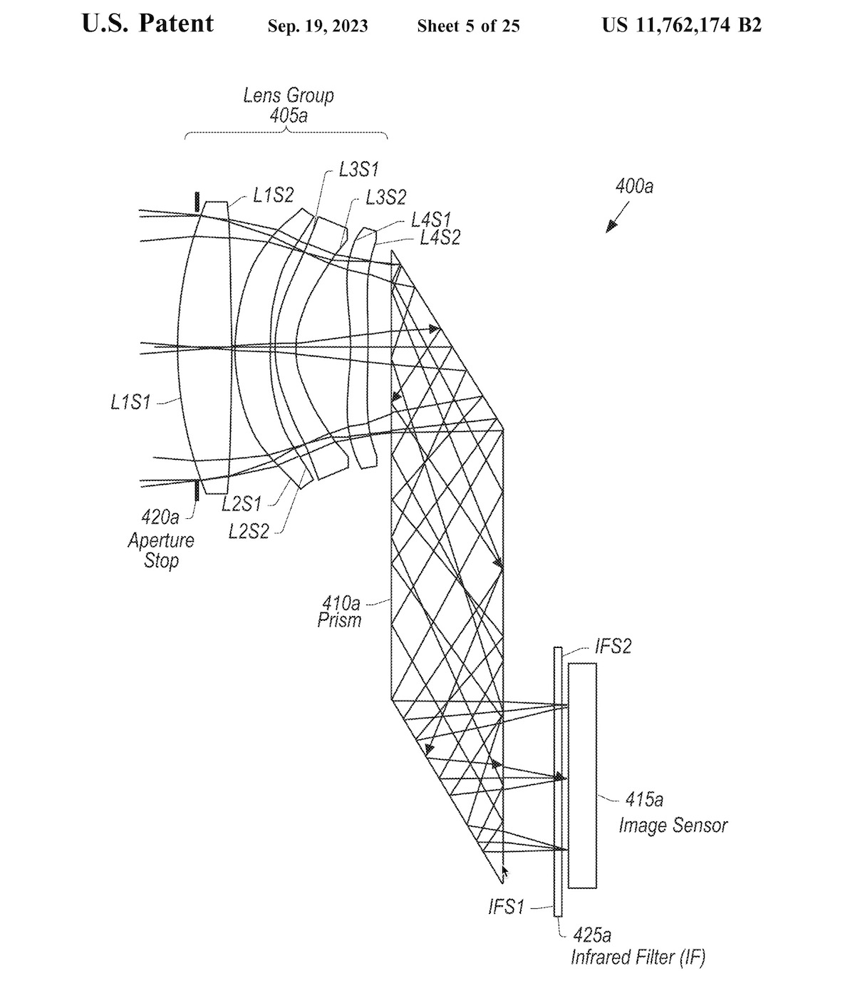
via:11762174
日本語でApple Intelligenceを使えるようになるのは、まだまだ先だろうけど、アップグレードする理由は十分ありますね。
問題は価格かな。先週あたりからの円高水準が反映されたものになるかどうかは、日本のセールスを考えると結構重要なように思います。国内価格が今春発売の製品と同じくらいの為替設定なのであれば、少し待つほうがいいかも。
まあ、欲しくなっちゃえば買うんだろうけどなあ。

CASETiFY グレーズケース iPhone 17シリーズ
CASETiFY Impact Mirror Camera Lens Protector









