Nomad x Peak Designコラボ「Rugged Case for iPhone 15 Pro / Pro Max」が予約受付開始
Nomad x Peak DesignコラボケースにiPhone 15用が出ます。 65ドル...
Nomad x Peak DesignコラボケースにiPhone 15用が出ます。 65ドル...
Amazonタイムセール祭りの事前セールで、「iPhone SE(第2世代) 64GB ホワ...
iPhoneの「盗難デバイスの保護」を搭載したiOS17.3がリリース。 とりあえず、オンに...
SmallRig x Brandon Li共同デザインの「iPhone 15 Pro Max...
Appleが、「バッテリーゲート」集団訴訟の請求に対する小切手の送付を開始しました。 201...
Steve Jobsが初代iPhoneをお披露目して以降、「これからはソフトウェアキーボード...
フォーカルポイント株式会社が「Twelve South BookBook for iPhon...
iPhone 15 Proに採用されなかったのは小さいからだったんですね。っぽい。 来年のi...
iPhone 15 Pro/Pro Maxでは最新の3nmプロセスで製造された「A17 Pr...
NOMAD公式で、リミテッド・エディションのRacing Yellowカラーのケース、App...
iPhone 15 Pro Maxにはハイブリッドレンズが採用されましたが、Ming-Chi...
Counterpointの2023年第3四半期スマートフォングローバル市場調査によると、Ap...
AppleがApple Siliconだけでなく、モデムも、他のパーツも自社開発することを模...
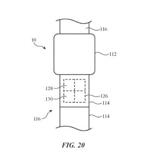
米国特許商標庁で、Apple Watchバンドにディスプレイを内蔵するという内容を含む「11...
iPhoneの製造拠点は中国からインドに移行しつつありますが、Kuo氏はこのムーブは”今後1...
「Scary Fast」イベの撮影はiPhone 15 Proで行われていて、その撮影風景も...
モアエレガントな「Belkin BOOST↑CHARGE™ PRO 2-in-1 Wirel...
CASETiFYが、新作「ウェーブ シリコンケース – ホワイト」を発売。 iP...
Haitong International Securitiesのアナリスト Jeff Pu...
株式会社CIOが、「Nova X(仮)」のクラウドファンディングを開始。 早割価格は3,08...