表面だけでなく、背面も側面も表示エリアに設定できるiPhone。全面つるつるだと落としやすそうなので、その辺の工夫さえあれば、かなり欲しいかも。
Appleが特許申請し、今年初めの2022/01/13に公知された「ラップアラウンドディスプレイを備える電子装置」。

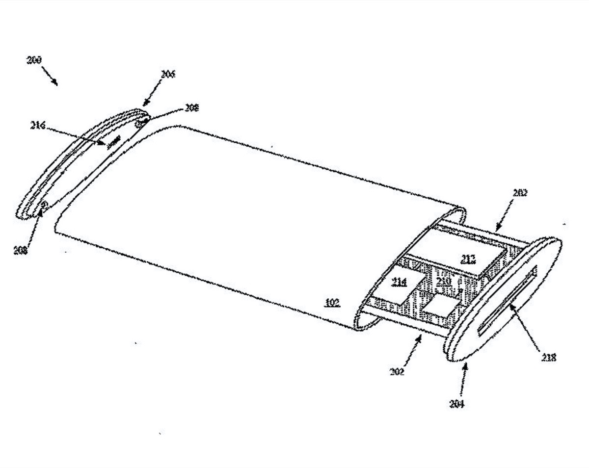
ポータブル電子装置の複数の表面における機能性を拡張するための技術で、”フレキシブルディスプレイアセンブリは、透明筐体の任意の部分に、ビジュアルコンテンツを提示するように構成される”と説明されています。

Appleは資料の中で、今のポータブル電子装置は”一方の側上にディスプレイがあり、電気構成要素を収容する不透明な筐体が装置の裏面を覆う、平坦面状のフォームファクタに定着している”というものであり、”これらの装置の未使用部分を最大限に利用する方法を探求することによって、更なる改善が実現されるであろう。”としています。

具体的には、この技術を使うことで、iPhoneの側面や背面などの、これまではボタンやパネルで覆われていた部分についてもコンテンツを表示して利用することができるようになるということになります。

この特許の出願日は2021.9.24。
スマートフォンの新しいフォームファクターとしては、Samsungが先行している折り畳み式ディスプレイもありますが、画面自体を折り曲げる構造であるため、破損しやすく、ヒンジ部分に異物混入もしやすいため、耐久性の点で課題があります。
Appleでも数年前から折り畳みディスプレイ搭載iPhoneを開発しているという話がアナリストからも出ていましたが、今のところ、実現の様子はなく検討するにとどまっている様子。
今回のラップアラウンド・ディスプレイということであれば、折り畳みディスプレイのデメリットが存在しない、かつ、表示エリアを(裏表側面使えば)従来よりも倍以上にすることができるわけで、よりAppleらしいアプローチのように思えます。






