[10%オフ]Apple Watchの高速充電対応、MFi認証の「hellomaco GO 2」がお得な予約販売ちう
エリーゼジャパン合同会社が「hellomaco GO 2」の予約受付を開始。 10月25日(...
エリーゼジャパン合同会社が「hellomaco GO 2」の予約受付を開始。 10月25日(...
フォーカルポイント株式会社が、日本代理店版の「Twelve South TimePorter...
株式会社CIOが、「Nova X(仮)」のクラウドファンディングを開始。 早割価格は3,08...
来年2024年のApple Watchについて。販売減少が続けばリポジショニングも必要。by...
ZAGGが「3-in-1 extendable stand with MagSafe」を発売...
近日中に実質的に修理は不可能になります。なりそうです。 この中には18金の「Apple Wa...
@ Instant Digital’s personal homepage &#...
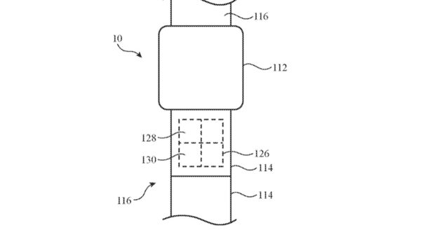
9/12のAppleイベントはiPhone 15とApple Watch。 Apple Wa...
Appleが、シリコン製とフッ素ゴム製のアクセサリーを廃止して、より環境に優しい次世代素材を...
今週のPower On by Mark Gurman氏は、来月発表のApple Watch ...