M2 Pro / M2 Max搭載のMacbook Proレビュー:評価は「ザ・ビースト」だけどスキップでいいかも?が多いです
M2 Pro / M2 Maxチップ搭載のMacbook Proが出荷になって、各所でレビュ...
M2 Pro / M2 Maxチップ搭載のMacbook Proが出荷になって、各所でレビュ...
M2 Pro搭載の新型Mac miniの出荷はまだですが、Geekbenchにベンチマークが...
ようやく、噂のM2 Pro / M2 Max搭載のMacBook Pro、Mac miniが...
続いて、M2 Pro、M2 Max搭載のMacBook Pro。 もちろん、バリエーションは...
来ました。 まずは、M2、M2 Pro搭載のMac mini。 外観はほぼ変化なし。ポートは...
今週、あるいは、今日にもAppleのニュースルームに注目!みたいなツイートがちら&ほら。 k...
StackSocialが,「Prism Drive Secure Cloud Storage...
OLED搭載のMacBookは早ければ、2024年末。 ていうか、もう来年末ということになり...
すでに春以降と修正された情報も出ていた、Apple初の複合現実型ヘッドセット製品ですが、Ma...
フォーカルポイント株式会社が、FOCAL POINT DIRECT楽天市場ストアなどで20%...
対象製品を購入すると最高で32,000円分のApple Gift Cardがもらえて、iPh...
エリーゼジャパン合同会社が「Elephant Card(エレファントカード)ブラックバージョ...
ということは、他の含めて3月になるんですかね。 9to5Macが伝えるところによると、Ros...
Valveが公開しているハードウェア調査結果に、Mac14,6、Mac15,4というモデルI...
GeekbenchにApple M2 Maxのベンチマークが出ています。 Mac14,6 &...
日本ではブラックフライデーセールはもう数日続くところが多いですが、本場US、EUではサイバー...
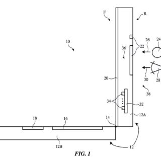
Appleによる「バックライト付き部分ミラー構造を備えた電子デバイス」という特許が2022/...
Apple Storeで、「13インチMacBook Air [整備済製品] 8コアCPUと...
かなりの確率で11月発表は無しになったようです。 Bloombergなどによると、当初、11...
今後のMacラインナップ予想@Power On。 今週のPower Onの内容は新型iPad...