フォーカルポイント、「Twelve South BookBook for iPhone 15」日本国内代理店版を発売
フォーカルポイント株式会社が「Twelve South BookBook for iPhon...
フォーカルポイント株式会社が「Twelve South BookBook for iPhon...
NOMAD公式で、リミテッド・エディションのRacing Yellowカラーのケース、App...
iPhone 15 Pro Maxにはハイブリッドレンズが採用されましたが、Ming-Chi...
Counterpointの2023年第3四半期スマートフォングローバル市場調査によると、Ap...
「Scary Fast」イベの撮影はiPhone 15 Proで行われていて、その撮影風景も...
モアエレガントな「Belkin BOOST↑CHARGE™ PRO 2-in-1 Wirel...
CASETiFYが、新作「ウェーブ シリコンケース – ホワイト」を発売。 iP...
Haitong International Securitiesのアナリスト Jeff Pu...
株式会社CIOが、「Nova X(仮)」のクラウドファンディングを開始。 早割価格は3,08...
iOS 17のスタンバイ機能にも適した「MOFT 七変化マルチスタンド – Ma...
国立商店が「職人が作るレザースリーブ」の2023年iPhoneモデル用を発売。 「職人が作る...
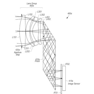
iPhone 16には、さらに改善された「テトラプリズムレンズ」搭載かも? Ming-Chi...
ZAGGが「3-in-1 extendable stand with MagSafe」を発売...
一部ユーザーが報告している、iPhone 15 Pro / Pro Maxの熱問題。 アップ...
アンカージャパンが「Anker Charger (12W, Built-In 1.5m US...
iPhone 15 Pro, iPhone 15 Pro Maxの加熱問題について、Ming...
ある意味、今年の目玉の一つだったサステイナブルな新素材「FineWoven(ファインウーブン...
Apple Store限定モデル「Satechi Magnetic Wallet Stand...
iPhone 15でもiPad Proでも。 ベルキン株式会社が、DAC内蔵のUSB-Cアダ...
ガチ高耐久な「MagSafe対応ウルトラ バウンスケース」は、MILスペックの10倍のプロテ...